商品動画
技術情報・マニュアル
プロ向け製品
DIY製品
安全・安心への取り組み
カタログ
マニュアル
企業情報
会社概要
沿革
組織図
主要取引先
支店・営業所案内
営業部案内
社報
サステナビリティ
カスタマーハラスメントに対する基本方針
E(環境)
S(社会)
G(ガバナンス)
製品安全・品質
SBT
SDGs
採用情報
お問合せ
商品FAQ
購入について
DIY製品について
ホーム
製品情報
手すり
BAUHAUS 32ソフトアクアレール オフセットブラケット
製品情報
■ ジャンルから探す
手すり
I型・L型ハンド
手すり棒
ブラケット
支柱
ベースプレート
関連部材
据置式手すり
BL認定手すり
踏台
スロープ
取替錠
その他
■ シーンから探す
玄関
階段・廊下
トイレ
浴室・洗面所
寝室・居間
屋外
福祉用具貸与
メンテナンス
DIY製品情報は
こちら
カタログ
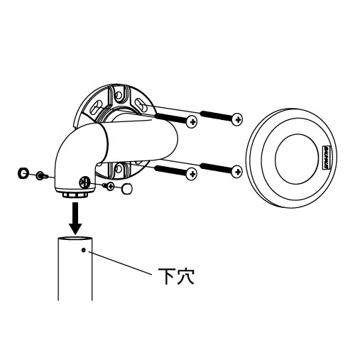
BAUHAUS 32ソフトアクアレール オフセットブラケット
住宅改修用
樹脂ブラケットの水まわり用手すり
現場で自由にカットできるシステム部材
材 質
ASA樹脂、PP樹脂、PE樹脂
備 考
在来工法壁専用
カタログページはこちら
説明書・図面はこちら
マニュアルはこちら
商品バーコード一覧はこちら
動画チャンネル(youtube)はこちら
商品コード
品番
色
仕様
価格
040-7316
SAQ-06W
ホワイト
上下セット
1セット 8,800円(税抜き)
関連動画
関連商品
BAUHAUS 32アルミ樹脂巻手すり棒 ディンプル付 [浴室・屋内用]
BAUHAUS 32ソフトアクアレール 補強手すり棒
プロ向け製品
DIY製品
安全・安心への取り組み
カタログ
商品動画
技術情報・マニュアル
企業情報
サステナビリティ
採用情報
お問合せ
商品FAQ